本文北京標準軟管熔體壓力樱桃视频大全免费高清版資料由優質樱桃视频大全免费高清版生產報價廠家為您提供。
產品概述:
PT124B-111/111T係列,其中111T配有測溫傳感器,可實現壓力和溫度的同點測量。適用於塑料擠出行業的壓力測量,可與我公司的N係列智能數字壓力儀表配合使用,測量和控製壓力和溫度。零滿度可調,放大後的信號直接輸入到可編程控製器,內部校準為80%。這一係列產品已在中國廣泛使用。其優點在於壓力測量準確可靠,性價比高。用我公司的智能數顯儀表(n係列顯示報警,PD9001控製),可以實現係統壓力顯示報警或控製。
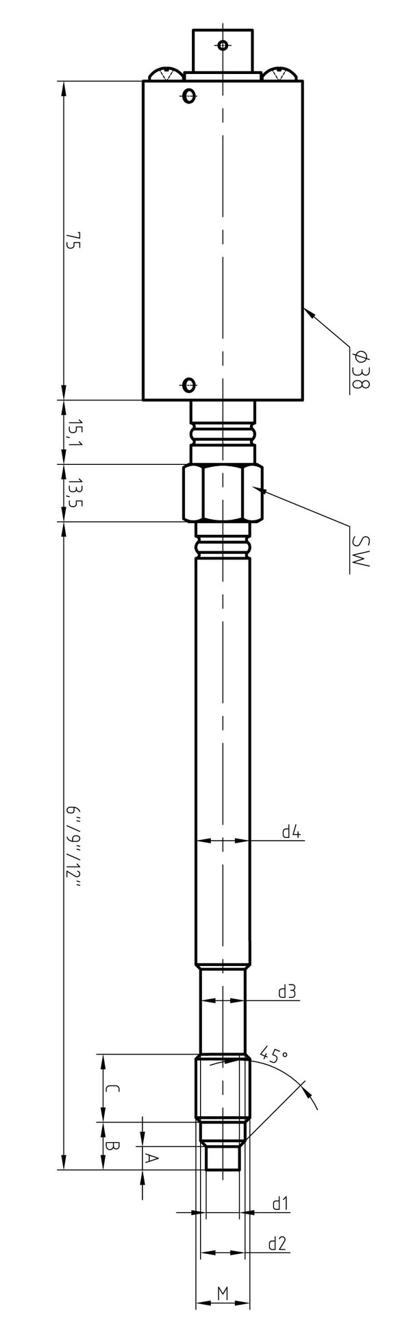
產品尺寸圖

產品特性:
不鏽鋼包裝
易於安裝
80%內部校準
良好的穩定性和重複性
技術規格:
範圍:0…3.5兆帕~ 0…150兆帕
綜合精度:1.0% fs。1.5%FS
輸出信號:4-20mA;
0-5V,0-10V;
電源電壓:24(12~36)伏直流電
工藝連接:1/2”-20 UNF,M14× 1.5,M18× 1.5,G3/4(客戶定義)
電氣連接:5芯,6芯
[北京標準軟管熔體壓力樱桃视频大全免费高清版]相關產品:
產品型號產品名稱
PT124B-11X剛性杆係列高溫熔體壓力傳感器/樱桃视频大全免费高清版係列
PT124B-12X軟管係列高溫熔體壓力傳感器/樱桃视频大全免费高清版係列
PT124B-112剛性棒替代進口高溫熔體壓力傳感器/樱桃视频大全免费高清版係列
PT124B-123軟管替代進口高溫熔體壓力傳感器/樱桃视频大全免费高清版係列
PT124B-21X工業常溫係列壓力傳感器/樱桃视频大全免费高清版係列
PT124B-22X液位樱桃视频大全免费高清版係列
PT124B-28X工業防爆壓力樱桃视频大全免费高清版係列
PT124Y-61X高溫熔體隔膜壓力表係列
PT124Y-62X衛生膜片壓力表係列
PT124B-25X工程設備(盾構機)專用壓力樱桃视频大全免费高清版係列
PT124B-23X空調,專用冰箱/壓縮機壓力樱桃视频大全免费高清版係列
PT124B-24X適用於汽車壓力樱桃视频大全免费高清版係列
WR-20X工業溫度傳感器係列
BP10X爆破閥係列
1.訂購時請注明型號、名稱、測量範圍、接頭螺紋尺寸和精度等級。
2.如果您有任何特殊要求,請在訂購時說明。
3.訂單應以書麵形式發送給上海朝暉壓力儀器(對方銷售人員可傳真或電子郵件)。樱桃视频大全免费观看接受口頭訂單。樱桃视频大全免费观看公司將向您發送銷售確認書,並需要您的書麵確認。如有必要,可以簽訂相關合同。特殊訂單可以通過與樱桃视频大全免费观看的銷售人員直接談判來解決。
4.收到您的訂單後,樱桃视频大全免费观看將在三個工作日內發送確認函,並附上樱桃视频大全免费观看的標準產品銷售條款。
產品運輸方式:
運輸方式可由用戶選擇或雙方同意。如果您選擇自己的運輸方式,用戶需要提供運輸公司的名稱、電話號碼、傳真號碼和其他所需信息。
地址:上海市鬆江區南樂路1276弄創意國際公園8號樓5-6樓。全國統一服務熱線:400-876-3876電話:86-0251691919,67755188傳真:86-0267755185官方網站:
《北京標準軟管熔體壓力樱桃视频大全免费高清版》本文地址:http://www.sdrlhw.com/news/js/776.html 轉載請勿刪除!